

Hãy luôn nhớ cảm ơn và vote 5*
nếu câu trả lời hữu ích nhé!
Đáp án:
Giải thích các bước giải:
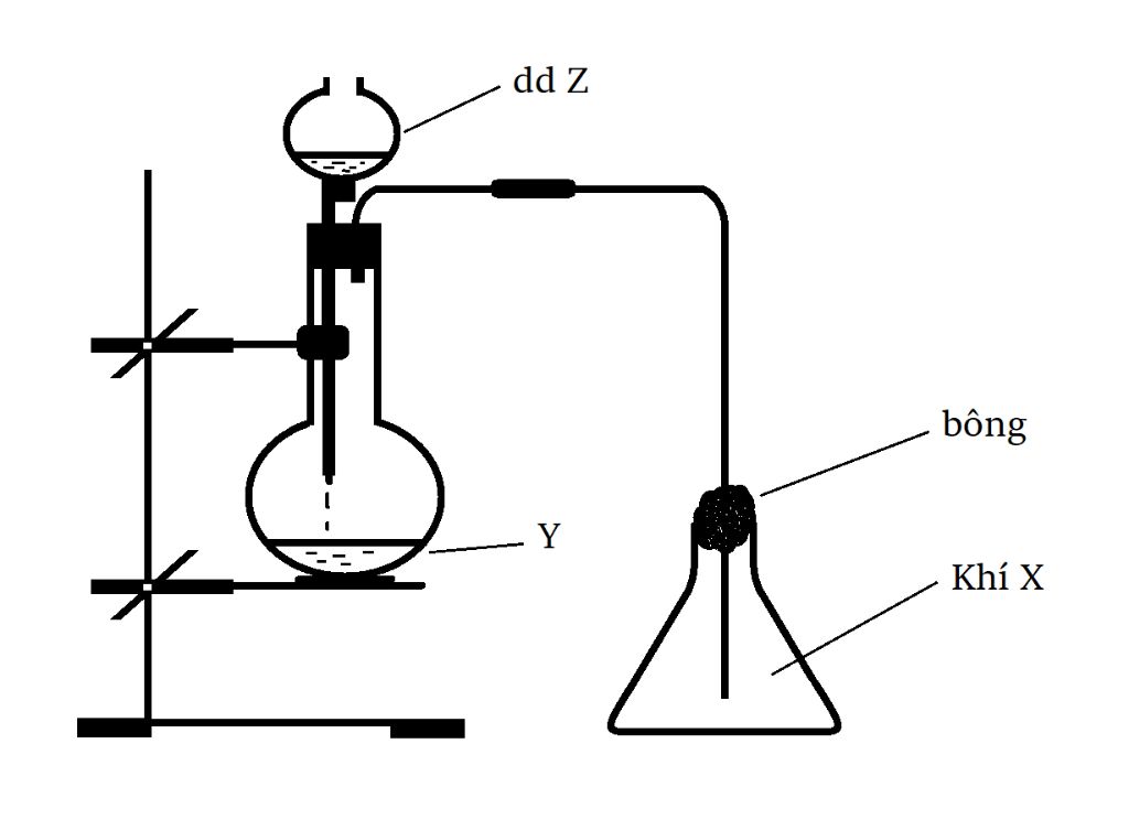
a) SO2 ; HCl ; Cl2 ; H2S ; NO2
Vì những khí này nặng hơn không khí ( để đứng bình muốn thu khí )
b) SO2 :
2HCl + CaSO3 --> CaCl2 + SO2 ↑ + H2O
CO2 :
2HCl + CaCO3 --> CaCl2 + CO2 ↑ + H2O
Cl2 :
4HCl + MnO2 ---> MnCl2 + Cl2 ↑ + 2H2O
H2S :
2HCl + CuS --> CuCl2 + H2S↑
NO2 :
4HNO3 + Cu -----> Cu(NO3)2 + 2NO2 ↑ + 2H2O
HCl :
NaCl + H3PO4 --> HCl ↑ + NaH2PO4
Có ai biết phần mềm nào vẽ hình thí nghiệm hoá học cho mình biết với, mình vẽ bằng paint nên hơi xấu (dạ em ko bt ạ )
Hãy giúp mọi người biết câu trả lời này thế nào?
![]()
Bảng tin
1246
18260
1451
gì z mới trả lời xong bị báo cáo ròi
0
5
0
thanks aj <3
1246
18260
1451
bn bc bài mk ạ
1246
18260
1451
kocj
0
5
0
không?
1246
18260
1451
iu nhìu